при том что много чего засекречено и сомневаюсь что у вас спец образование чтоб заявлять это как и при этом есть из известного о снаряде что он пробивает к5 и известно из испытаний которые тоже засекречены и по итогу можем только предпологать но было бы глупо создать снаряд против к5 который не будет или будет с трудом пробивать к5 потому что в этом нет смысла
И что же засекречено ?
Что бы сделать выводы на основе авторитетных источников в том числе ОТКРТЫХ испытаниях подобных снраядов нужно специальное образование ?!
Снаряд оказался настолько эффективным,что от его конструктивных особенностей по итогу отказались в М829А4 в угоду более толстого сердечника…
ссылку можно на а3
А от вас что-то объективное по теме можно увидеть ?
я так понял ты ток по радиопрозрачным колпачкам
Это от сегментации отказались?
Что они себе позволяют вообще

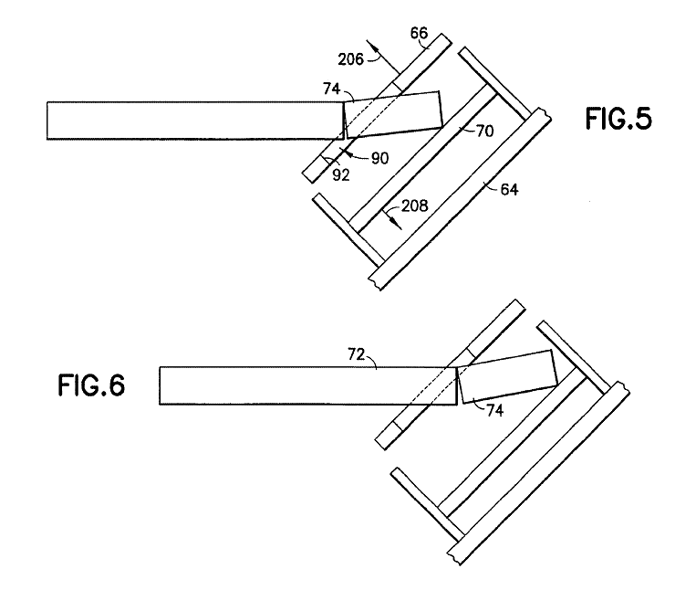
Сегментация была на DM53 и его производных. У М829А3 просто наконечник.
И в каком месте тут есть сегментация ?
Или стальной наконечник к вольфраму долежн быть приварен электроэрозионной сваркой ?!
Може теперь баллистический колпачёк будем считать сегментацией ?
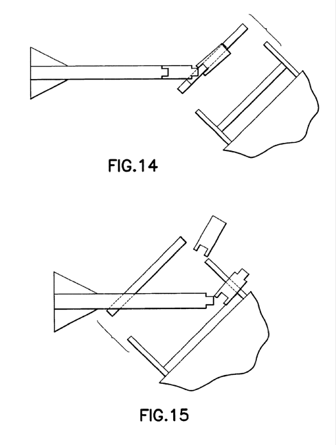
не ну тут вроде как рил наконечник который забирает на себя дз а основной снаряд по сути сзади
Внимательней наверное смотреть нужно
А еще патент почитать не мешало бы с описанием т.н “колпачком”

Можете в Paint показать где тут сегментированный сердечник.
Ну так пробивает К-5, его и М744 пробьет. А дальше-то что?
Какая-то неувязочка.
Т.е. ваше мнение основано на классическом заблужении “ну конструктора что, дураки?” Ну это несерьезно.
Так правильно
Это сегментированный ОБПС
Сегментированный ОБПС - это манго где буквально два сердечника. Или ДМ53 и его производные, где основной сердечник имеет несколько сегментаций и разделённые промежуточным слоем.
Как дырка в точке 1 изменит то, что часть пластины из точки 2 все равно влетить в основной пенетратор?
Её там и не будет, ибо бронесталь твёрже наконечника, который просто сточится.
А М829А3 не сегментированный)
Ты описание т.н “колпачка” читал? Я же тебе когда-то кидал его

Сегментированный ОБПС


ОБПС с наконечником


Вы не понимаете эта другое
Ну это вряд ли, думаю там наконечник из твердого материала + он длинный.
Где то я уже натыкался на эти грабли и мне кидали пруфы, что он стальной.

