Так наглядно же показали, что у БПСов крутой урон, видимо на них играть всем надо
А случай был тяжёлый.
Причём тут СНАРЯДЫ которыми СТРЕЛЯЮТ из пушек?
Мне намекнуть где тут минус айкью фармится?
Но не в случае ОБПС, которые пробивают эти баки насквозь с последующим выбросом газо-топливной смеси в боевое отделение, по сути работает как с перегородкой у НАТО-танков
Там предлагалось по урону угадать снаряд, с намеком, что у БПС урон больше.
Или у JM33 стал лучше DM53 потому что вылетает каждые 4 секунды?
Может не стоит откровенный бред писать? Про скорострельность пушек и так всем известно, но здесь еще и выкручивалось, что БПС лучше ОБПСов.
В случае. Внутри баков конкретно у некоторых машин специальный наполнитель, который препятствует гидроудару и взрыву.
Ну так поэтому там баки и не взрываются.
хускарчик тебе пояснит что чотыре сёкудрны круче
Ну так по логике со скорострельностью 2А42 и бушмастера так и выходит. Что JM33 лучше DM53, потому что стреляет чаще
ну как бы тебе обяснить…
дамаг у обпс 25 и 120мм немного разный
Так сравниваем же не 25/30 и 120. А между собой 25/30 и 120/120.
Я не понимаю, в чем проблема признать ложность тейка про урон и сказать, что в силу скорострельности вы предпочтете 2А42 на БПС, чем бушмастер на ОБПС.
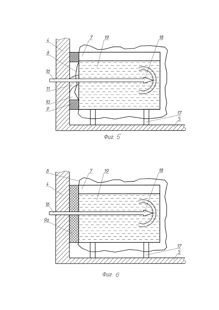
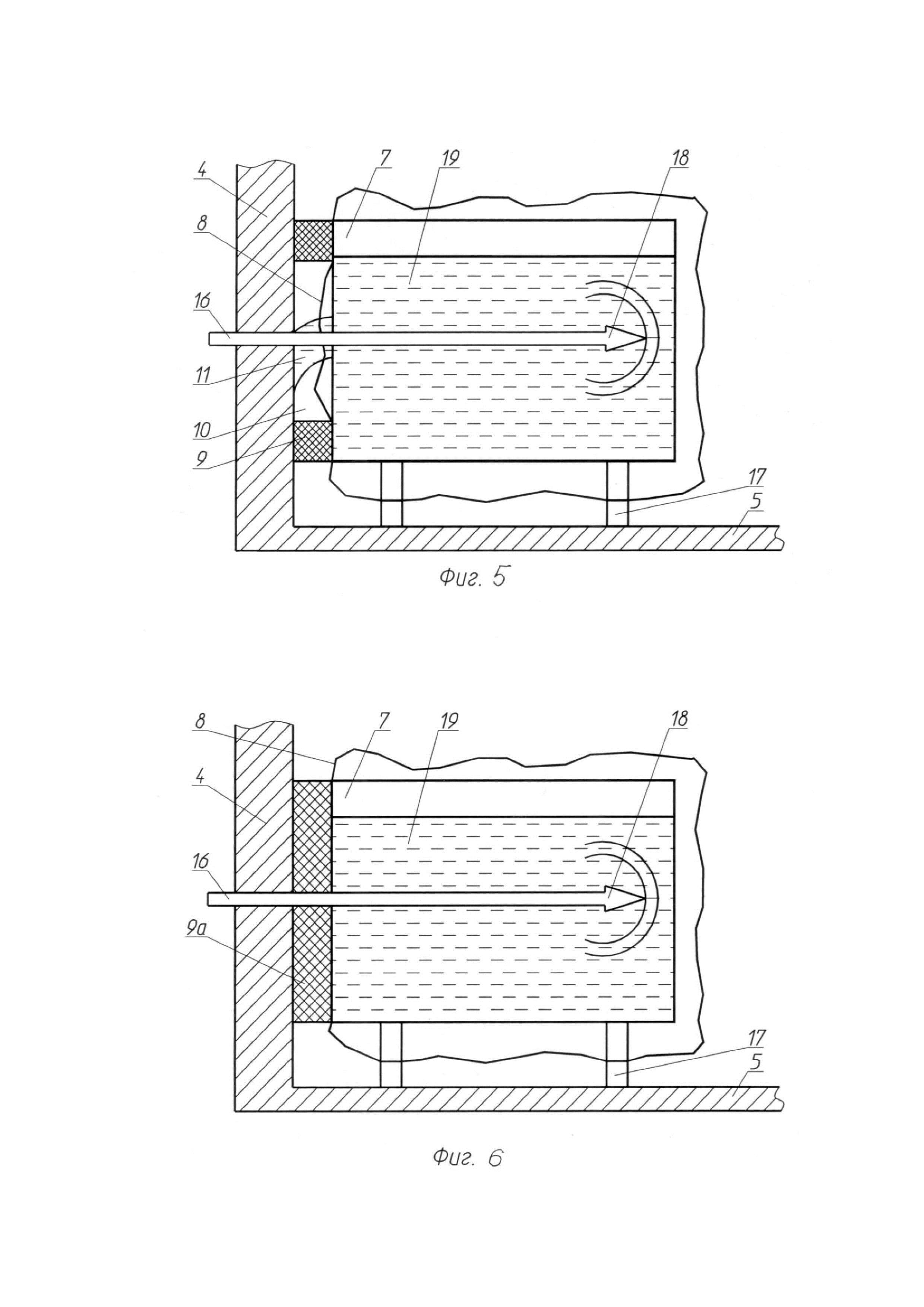
И что это за патент? Тут внутри бака даже наполнитель не нарисован.
Ну так в моменте урона может быть больше.
Да и открываю завесу тайны – БПС бывает разный.
Он сказал, что Тайп 90 с КД 4 секунды не имба, потому-что есть DM53.
Это платина, это победа, это наша местная БАЗА.
ОБПС и БПС бывает разный.
Думать надо.
Но взрывается АЗ с вышибной панелью, так как внутренние перегородки создают осколки.
Не выходит, это просто перескок с одной темы на другую с попыткой оправдать свои слабые аргументы в споре.
Базик момент, когда ты слаб, но правда даже с виду от таких мувов твои слова не становятся сильнее.
В конкретном случае сравнивали урон БПС и ОБПС из бушмастера и 2А42 с подводкой, что БПС лучше.
Ну вот БПС и ОБПС из бушмастера, опять БПС лучше. Что получается?
Я вполне конкретно показал, что скорострельность орудия не делает снаряд лучше. Снаряд - это снаряд, орудие - это орудие.
Конкретные сравнивались, не надо размывать тему.
Что простите? А давно внутри АЗ дизель залит?
Главное погромче кричать, что у оппонента плохие аргументы.
Действительно, слабый аргумент - сказать, что ЗУБР8 хуже, чем ОБПС бушмастера.
Заявка: 2022107663, которая и описывает принцип защиты, в котором рассматривается кумулятивный снаряд. И против них, да, работает как ещё один защитный слой.
круто
а снаряд вылетает один из пустоты как в анализе?

У вас на скрине да. Вы предложили урон сравнить.
Ну я понял. JM33>DM53, ведь пушка с JM33 чаще стреляет.
Мы не умеем сравнивать отдельно пушку и отдельно снаряд.
где?
сам тейк не придумаешь - никто тейк не придумает
не задумывался почему на форуме стало так мало людей?

Я надеюсь, что с 4 или сколько раз я уже процитировал, вы наконец сможете увидеть
Так вот же этот тейк, сами и придумали.
DM23 лучше DM53, потому что DM23 у PT-16/14 с кд 4 на АЗ вылетает.
может бить мистер ралин поймет, что с автопушки не ваншотят как 120мм дрыны и сравнивать их скорострельность по отношению к автопушкам некорректно



