пластилин, зеленый
Кстати на страничке ХКБМ, есть данные по одному модулю ДЗ Нож и его защите от ОБПС и куммулям, и там вот что стоит:
Для повышения уровня защиты на танке Т-72АГ устанавливаются дополнительные броневые модули на лобовые части корпуса и башни, встроенная динамическая защита (ВДЗ) на корпус и башню, а также бортовые экраны с ВДЗ в передней части корпуса. Конструкция и принцип действия ВДЗ - почти такие же, как у танка Оплот.
Схема бронирования
При модернизации танка Т-72АГ применяется модульная схема бронирования, которая имеет следующие преимущества:
- возможность переоснащения бронирования танка по мере усовершенствования броневых материалов и разработки новых видов защиты;
- новый подход при восстановлении брони после снарядных поражений, когда предоставляется возможность замены пораженных модулей вместо проведения восстановительных работ в полевых условиях;
- возможность эксплуатации танков в условиях мирного времени с облегченной броней, без элементов ВДЗ, что позволяет сэкономить топливо, при необходимости экипаж танка может быстро установить элементы ВДЗ на танк;
- с точки зрения производства - возможность изготавливать модули на специализированном производстве, а на корпусе производится только приварка элементов крепления.
Эффективность
Установка броневых модулей и ВДЗ повышает уровень защиты танка Т-72:
- по защите от кумулятивных поражающих средств - в 2 раза;
- по защите от кинетических поражающих средств - в 1,6 раза.
ВДЗ обеспечивает защиту танка от следующих поражающих средств в пределах курсовых углов обстрела:
- от ручных противотанковых гранат, снарядов ручных и станковых гранатометов и безоткатных орудий;
- от противотанковых управляемых ракет типа “Штурм-С”, “ТОУ-2”, “Милан”;
- от кумулятивных снарядов, 125 мм пушек;
- от бронебойных подкалиберных снарядов 125мм пушек и 120мм пушек при обстреле с дистанции 100м.
Расположение элементов динамической защиты внутри броневых ячеек позволяет избежать их повреждения от пуль стрелкового и автоматического оружия калибра 7,62 мм и 12,7 мм и от осколков артиллерийских снарядов.
Элементы динамической защиты не детонируют при попадании в них автоматических пушек калибра до 30 мм, а также от воздействия зажигательных смесей типа “Напалм” и поражающих факторов объемного взрыва.
На дворе 2000е, милан пробивает 900мм за дз, тоесть 1 слой ДЗ Нож и корпус от т72б наверно, держит птур милан. И тут мы видим что ттх от куммулей для 1 слоя дз нож, близки к 600мм, иначе такого заявления не могло быть. Штурм-С уже тоже пробивал 800мм за дз. По кинетике видим около 500мм защита у т72б, и тут 1.6, как раз те самые 300мм за модуль сходятся в прибавке к стойкости, то есть с 1 модулем дз нож, защита у т72б на уровне 800мм от кинетики.
Это напрямую коррелирует с данными производителя, как ХКБМ, так и Микротека, обе компании делают защиту для общей техники, и их данные сходятся, в отличие от ваших неких расчетов, которые берутся с фотографий, которые не понятно как появились, не беря в расчет, что снаряд может и поменять угол атаки сильно, при воздействии на него ДЗ.
Микротек говорит о превосходстве в 1.5 и 2.5 раза над К-5, и эти цифры кладутся на те что дает ХКБМ, те же ±300мм от кинетики и 600± от куммулей.
Причем это подтверждено исследованиями, может я и рапорт сделаю, 1 слой ДЗ Нож должен держать 300мм кинетики и 600мм куммулей.
Также мне не понятно, почему изначально БМ Оплот как прем не сделали также, ввели бы вторую версию с накидкой или сеткой с боеприпасом 3бм42, на 11.7 и было бы все отлично, и улитка бы кучу денег заработала, и конфликта с китайским сообществом не было бы. Сколько я предложений и даже веток делал, как и другие игроки, улиткам побоку, видать им виднее, в итоге ни нового према, и гнев сообщества, которое было ожидаемым.
Если маск сеть трудно сделать, то вот, с зонтиком бы сделали прем танк, зонтик конечно убиратсья должен уметь).
кстати нашел патент в реестре, с которого скинули фiг 52, кому интересно вот в jpg формате весть документ, утром реестр не шел, сейчас нашел:
Да погоди ты, методичка пока не устаканилась.
Сначала была бронесталь, потом с тем как реализовывали оплот на деве стала резина, потом конструкционка, теперь резина сваренная с конструкционкой. Надо дождаться когда окажется что там алюминий в 0.2 коэффа в игре или деревяшки в 0.1.
еще что, вот данные по защите Т55 и Т64 с модулем ДЗ Нож:
Защита
Комплекс дополнительной защиты танка Т-55АГМ Комплекс дополнительной защиты (КДЗ) предназначен для повышения уровня защиты танка от кумулятивных и кинетических (бронебойных подкалиберных снарядов - БПС) поражающих средств при минимально возможном увеличении массы танка. КДЗ состоит из пассивной броневой защиты и встроенной динамической защиты (ВДЗ).
На носу корпуса танка установлен съемный модуль.
На бортах установлены силовые экраны и резинотканевые щитки.
По внешнему периметру лобовых и бортовых участков башни размещены модульные секции, а также контейнеры, установленные на крыше башни. Внутри каждой секции ВДЗ и каждом контейнере установлены элементы динамической защиты нового поколения типа «Нож».
Защитное действие ВДЗ на кумулятивное средство основано на разрушении, дроблении и изменении направления кумулятивной струи вследствие воздействия деталей ЭДЗ и продуктов детонации взрывчатого вещества, находящегося внутри ЭДЗ и инициируемого кумулятивной струей.
Защитное действие ВДЗ на кинетический снаряд основано на разрушении его корпуса и изменении направления его внедрения вследствие воздействия продуктов детонации взрывчатого вещества, находящегося внутри элемента динамической защиты (ЭДЗ) и инициируемого за счет кинетической энергии снаряда. Установка ВДЗ повышает уровень защиты танка Т-55АГМ:
**от кумулятивных поражающих средств - в 2,3...2,6 раза;**
**от кинетических поражающих средств - в 3,5...4,3 раза.**
так как пассивная броня, это 50мм бронистали на ВЛД и 100мм бронестали на башне еще в добавок.
В итоге, корпус 100мм катаной стали + 50мм катаная броня высокой твердости, по улиткиной формуле выйдет влд вместо 200 уже 300мм, ну берем самый низкий параметр в 3.5 раза, это 700мм от бопс в итоге, и отнимаем 300мм брони с прокладкой, ну еще можно 16 брони стали убрать под углом в 59, это крышка дз, значит минус 330мм, в итоге дз дает 370мм от кинетики, хм, это даже больше 300мм, но у улиток и модеров, броня выходит на 140мм.
Вот данные по Т-64БМ:
Эффективность
Установка комплекта дополнительной защиты повышает уровень защиты танка БМ БУЛАТ:
**от кумулятивных поражающих средств - в 2,2 раза**
**от кинетических поражающих средств - в 1,9 раз**
габарит брони по ходу снаряда 360мм, вот берем к 135мм стали даем еще 50мм высокой твердости + получаем 500 от БОПС + и в итоге 260мм на работу дз, тут параметры вдруг резко просели в инную сторону, но все же не 140мм ни как, а как раз близки к 300мм.
Жестьб. А мне рупропаганда сказала что нож=к5±=реликт
Кому верить
так ты сам нифига не постил из доков. Тот чел хотя бы что-то нашел
это все очень круто, но откуда корнет? точно не рпг-7 какое нибудь?
какие ваши доказательства?
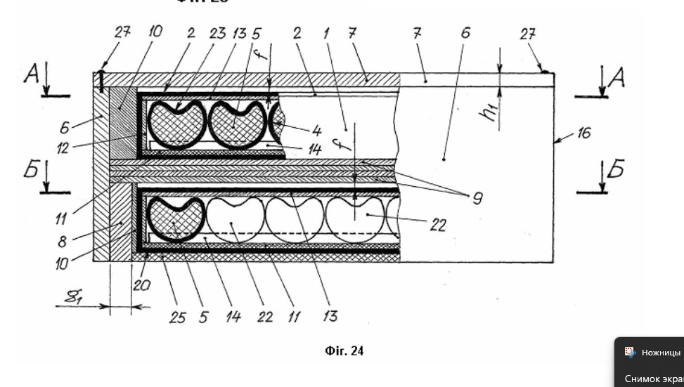
Кто-нибудь нашел из чего этот демфер(поз 9)? По штриховке это сталь, а не резина.

Мне интересно, откуда вам знать что не работают?
Пруфы какие то будут?
Вот это да НОЖ повышает защиту Т-72А (с трёхслойный ВЛД) всего в 1.6 раза от кинетики.
Т.е. увеличивает защиту всего на 60%.
Это сколько там приведенки у Т-72А голой? Миллиметров 300-350? Сколько от нее будет 60%?
Около 160-210 мм от кинетики выходит?)
И как эти 210 мм защиты от кинетики ПОЛНОСТЬЮ уничтожают лом на 600 мм пробития (ОФЛ 120)?
Чё то как то заявления не сходятся с реальностью.
А как Т-72АГ?
Превратился в Т-72Б?
Вы же знаете что состав брони у Т-72А и Т-72Б разный?
Ну так че по Оплоту? Зрада или перемога? Объясните
Тот чел сам себя обкакал, уж простите за такое выражение.
Он принес документик на 1.6 защиты для Т-72А.
А для расчетов брал Т-72Б)
370*0.6=222мм от ножа.
Согласно брошюрам Микротека, Дуплет лучше на 12.5%, чем нож против кинетики.
222*1.125=250мм. Это хуже, чем в игре.



















