Я думаю тут надо считать без ОТРАЖЕНИЯ
Об этом не подумал.
Спорно вообще, но может и так. Тем хуже для Ножа.
Ну там как не считай цифра меньше, чем в игре. Товарищ, конечно, не в ту сторону сыграл
Ну с ОТРАЖЕНИЕМ (у модерны той же оно есть)
368 * 0,6 = 220,8 - Стойкость Ножа
368 * 1,6 = 588,8 - Стойкость ВЛД Т-72А с ОТРАЖЕНИЕМ + Нож
Товарищ смешно взял цифру для Т-72А и применил её для Т-72Б)
Для того чтобы понять, что резина нужно же ещё и читать патент, а не только картинки смотреть.
В описании фигурирует “демфер” без уточнения материала. По штриховке это металл, а не резина.
По чертежу из какого документа?
Потому что из тайских, там точно не штриховка металла
Если там набор пластин, то на мелком чертеже это все превращается в черную кляксу.
Если бы, да кабы
И ниже он привел для Т64БМ коэф 1.9. Чему верить?
Вопрос не ко мне, я просто сразу увидел очевидно смешные заявления для увеличения стойкости Т-72А, который в пух разбивают сказки о сверх эффективности ЭДЗ Нож.
Как минимум этот разрез сходится с реальной фоткой. Так шо маемо шо маемо.
Вложение удалено модератором. Тайское ТО не считается рассекреченным

Ну да, я понимаю трудно. Это же мова, хрен прочтёшь.

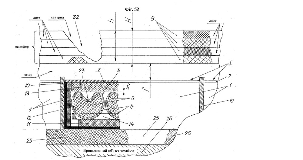
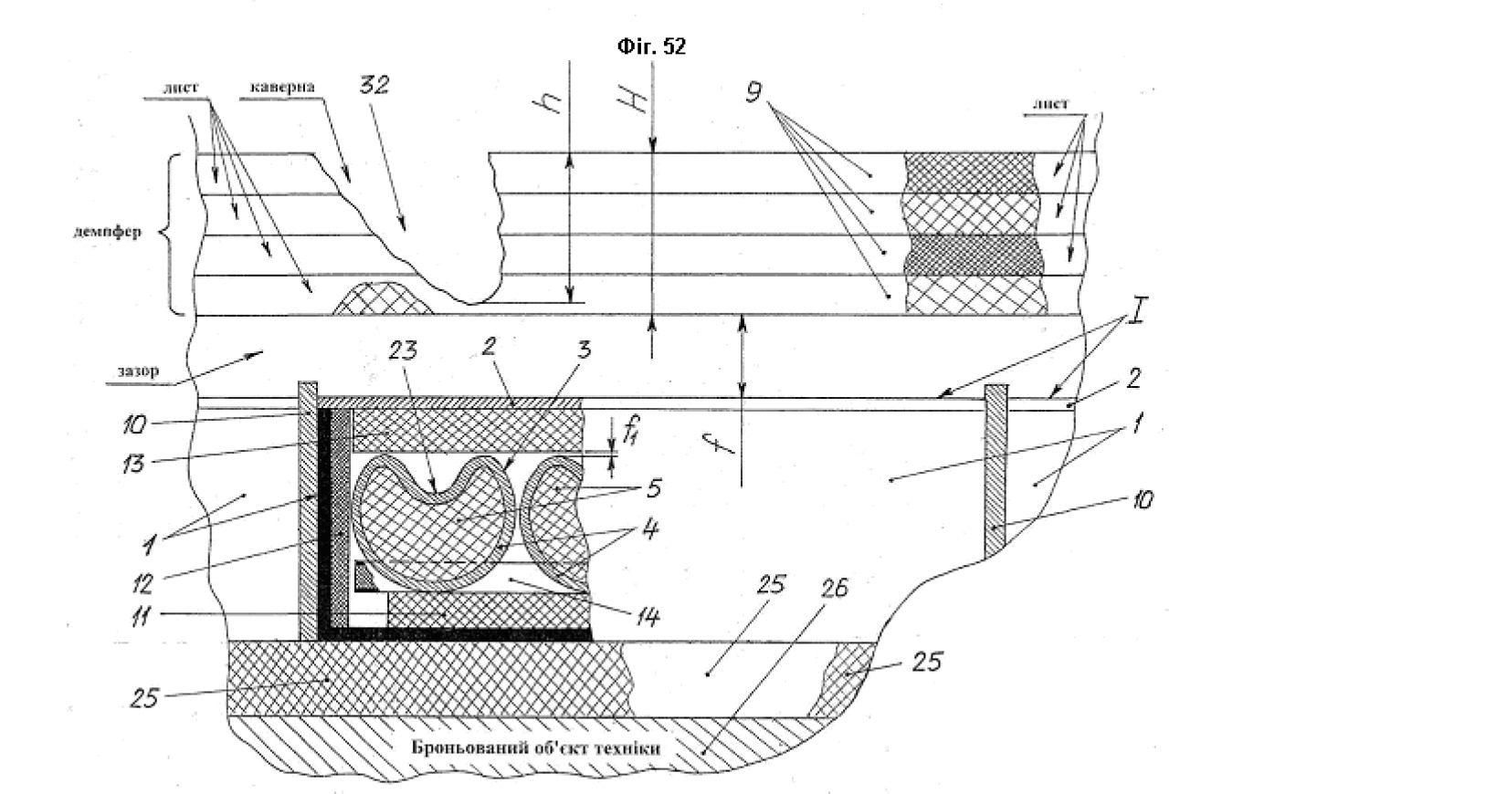
Я же о фиг 24 говорю…
Опять же, на фиг 24 по чертежу не резина.
В тексте нет ни единого упоминания о том, что демпфер сделан из стали, но много раз говорится, что из резины
Тогда почему на фиг 24 не сшлошная сетчатая штриховка между слоями?
Ну тут наверное придётся напрячь мозг самому. Пока без подсказок.
У Т-64Б пакет 80мм стали + 100 тектолита + 20мм стали. Это хуже, чем Т-72А из-за неравномерного распределения по стальной преграды.
Так что 1.9 для такого Т-64Б вполне согласуется с 1.6 для Т-72А


