Вы читать не умеете? Тогда попросите кого-нибудь, чтобы вам прочитали.
Не поднимал, он прямо написал, много раз, демпфер из резины
Но есть и с металами)
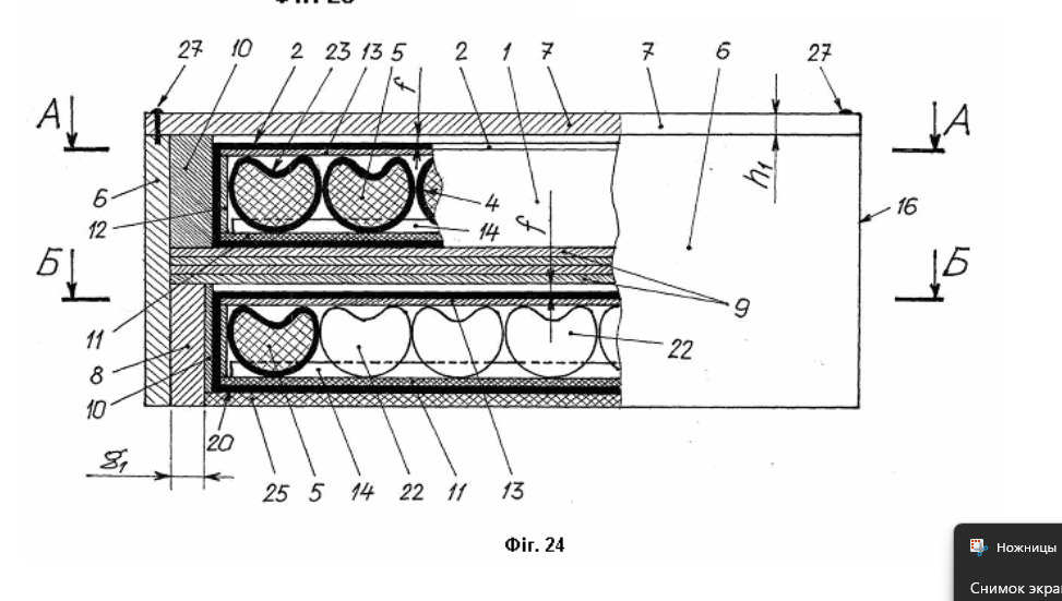
2 целых листа отведены коробке с металлическими пластинами. Там изображение с разрезами в нескольких плоскостях.
ты давал мне данные от микротеха по дз, там чисто для хсчкв модулей показана защита, и мы видим также тонкостенные модули на испытаниях, там защита дана от птуров/бопс и прочего, если прибавить 50-100мм к модулю, ттх плитки не изменятсья.
Может нижняя и больше 30, тут не видно, а я не уточнял.
Вы разберитесь с терминологией:
Комплекс ДЗ
Модуль ВЛД
Элементы ХСЧКВ
Вести диалог невозможно
Ну хватит уже клоунаду устраивать. Вы только о себе мнение ниже плинтуса опускаете таким поведением.

В схеме работы ДЗ - нет металлических листов)
Т.е. исходя из данных патента - они предполагали использование демпфирующих прокладок из каких-то материалов, но в схеме работы брали именно неметалл
На штриховку обратите внимание.

Ты уже опустилсья, где тут БМ Оплот. Ты можешь опровергнуть статьи Тарасенко? Ты можешь опровергнуть тайский Мануал? Ты можешь опвровергнуть фотографии? Ты еще раз 20 напиши, твой картинка ни чего не стоит.
А схеме нет, а тут есть. Одно другое исключает?
То что на одном чертеже из 20 штриховка неправильно нанесена доказывает что? На всех остальных чертежах того же патента резина. Читай описание патента, если по картинкам не можешь.
Я вот не понимаю, весь этот спор вообще к чему идёт? Для чего он нужон?
Извини, может я не верно выразилсья, но сам производитель пишет что защиту дает и пассивная броня, которая на данной техники идет опционом, этих плит нету на Т-84 например, чтобы высчитать защиту элементов ХСЧКВ, нужно убрать все габариты стали.
Да фиг его знает. Может он обкуренный. Я ему больше отвечать не буду.
Я уже честно не понимаю что вы пишете. Нож - это комплекс ДЗ, где идет и сталь и элементы ХСЧКВ.
Поэтому стойкость там общая приведена.
И там ДЗ Нож будет меньше прибавлять




